La Magnavox Odyssey fue ideada por el ingeniero germano-estadounidense Ralph Hendrikson Baer, el “padre de los videojuegos”, quien cumpliría 100 años el 8 de marzo si aún siguiese entre nosotros. Hace ahora 50 años —el 27 de enero de 1972— comenzó la producción de la Magnavox Odyssey y sería comercializada por Philips en Estados Unidos en mayo del mismo año. Su aspecto hoy es bastante retro: una caja marrón, negro y blanca, con muchas líneas rectas y con dos controladores conectados por cable. Un mes después se lanzaba en México la Magnavox Odisea. Conoció el mercado europeo en 1973 y a España llegaría con el nombre de Overkal, en 1974 y a través de Inter Electrónica S.A. En 1976 la empresa valenciana Togisa lanzó la videoconsola Teletenis Multijuegos.

La primera videoconsola de la historia llevaba varios años de investigación detrás. Los primeros prototipos fueron desarrollados en 1966, mientras Baer trabajaba para Sanders Associates, un contratista de defensa. Con la ayuda de otros tres ingenieros, en 1969 presentó su séptimo prototipo, la Brown Box, nombre que hacía alusión al color (marrón-Brown) de la caja (box) que protegía los circuitos. El prototipo fue presentado a varios fabricantes de TV y sería Magnavox quien aceptaría producirla en enero de 1971. En el primer año en el mercado lograron vender 69 000 unidades y llegarían a vender hasta 350 000 cuando dejó de fabricarse, en 1975.
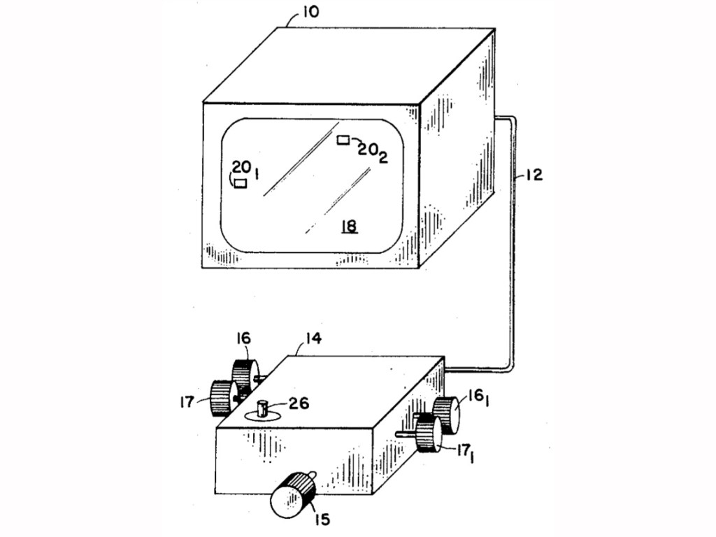
La patente Television Gaming and Trailing Apparatus fue presentada por Baer en marzo de 1971 y publicada en abril de 1973. Y menos mal que tenían patente, como veremos más abajo.
Por otra parte, a Baer no le gustó la forma en que se hizo lanzamiento de la Magnavox Odyssey, pues se pretendía vender solo a través de las tiendas de Magnavox, lo que enviaba el falso mensaje de que solo funcionaba con sus televisores. Por otra parte, el pack inicial de ventas de la videoconsola de Baer incluía láminas transparente que simulaban gráficos complejos y se encareció hasta llegar a los 100 $. Magnavox fue fundada por Edwin Pridham y Peter Jensen, quienes inventaron un altavoz en 1915 que dio nombre a la empresa.
Esta primera videoconsola originó la serie Odyssey de consolas dedicadas. Una consola dedicada es la que contiene un juego o conjunto de juegos fijos, que no pueden cambiarse porque van integrados. Las videoconsolas de primera generación son las que se comercializaron entre 1972 y 1983. Además de la serie Odyssey y Atari Home Pong, incluiría la serie Coleco Telstar y la serie Color TV-Game, terminándose la generación con Computer TV-Game. Las consolas de primera generación no podía mostrar más de dos colores y tenían limitaciones de audio o ningún sonido.
La locura de Pong

Pong es una marca registrada por Atari y se trata de un videojuego creado por Nolan Bushnell, de la primera generación de videoconsolas lanzado en noviembre de 1972. Sin embargo, Magnavox Odyssey tenía un juego similar, es decir, Atari copió la idea de Baer y otros fabricantes hicieron lo mismo. A pesar de ello, Pong fue el primer videojuego con éxito comercial y constituyó, junto a Magnavox Odyssey, el detonante para lanzar definitivamente la industria del videojuego. Desde entonces, llevamos 50 años jugando delante de una pantalla y no hemos parado.
Según la patente, en 1971 el concepto de videojuego pertenecía a Baer y Magnavox. La patente comienza de la siguiente forma:
“La presente invención es un aparato y un método en conjunción con receptores de televisión a color y monocromáticos estándar, para la generación, visualización, manipulación y uso de símbolos o figuras geométricas en la pantalla del receptor de televisión con el propósito de simular un entrenamiento, para jugar a juegos y para participar en otras actividades par uno o más participantes”
Nolan Bushnell fue el fundador de Atari y también quien perdió la demanda de Magnavox Odyssey por infringir la patente de Baer. Magnavox mostró la videoconsola en reuniones privadas de empresarios antes de su lanzamiento oficial. Pero Bushnell logró colarse en una de esas presentaciones e, incluso, llegó a jugar. Pero resulta que en esa ocasión el vigilante le hizo apuntar su nombre, lo cual fue una prueba de que conocía a la perfección el invento de Baer. Atari tuvo que pagar 1,5 millones de dólares por la licencia de Pong, pero solo fue una parte de los más de 100 millones de dólares que Manavox generó por las demandas a varias empresas que también se saltaron la patentes.
Los primeros juegos
La primera videoconsola de la historia tenía veintiocho juegos, tales como ping-pong o voleibol. Ni tenían sonido ni forma de memorizar las puntuaciones, por lo que los jugadores debían usar lápiz y papel. Este primer videojuego no contenía unidad central ni memoria RAM, solo se componía de transistores, resistencias y condensadores. Su sucesora, la Magnavox Odyssey2 (1978) ya contaba con microcontrolador y memoria RAM, además de sonido.
Realmente el primer videojuego no es obra de Baer, sino de William Higinbotham, un físico norteamericano. Fue miembro del equipo que desarrolló la bomba nuclear, aunque más tarde sería un líder en los movimientos de no proliferación de armas atómicas. Higinbotham construyó un juego de tenis con un osciloscopio en el que usó diferentes amplificadores y relés. Solo presentaba una línea horizontal (campo) y una vertical (red), más un punto móvil que representaba la pelota. El llamado "Tennis for Two" fue ideado en 1958 no fue patentado por su inventor. Sin embargo, algunos expertos le dan el honor OXO de ser el primer videojuego de la historia, una versión del tres en raya de 1952 creada por Alexander Douglas para la computadora EDSAC